五粮液与阿里合作:据最新消息,五粮液与阿里宣布合作。8月26日,五粮液集团与阿里巴巴集团战略合作签约仪式在宜宾举行,双方宣布将在新零售、互联网技术与行业融合、供应链金融服务、企业信息技术服务等领域进行广泛深度合作,对示范带动白酒行业数字化转型,打造酒业新经济样板具有重大战略意义。
五粮液集团有限公司,其前身由50年代初几家古传酿酒作坊联合组建而成的“中国专卖公司四川省宜宾酒厂”,1959年正式命名为“宜宾五粮液酒厂”,1998年改制为“四川省宜宾五粮液集团有限公司”。
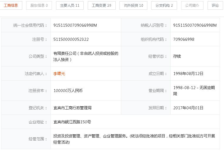
据微猫搜索查询显示,四川省宜宾五粮液集团有限公司成立日期:1998年08月12日,注册资本:100000万人民币,法定代表人:李曙光。

五粮液与阿里合作:微猫搜索
据悉,此次五粮液与阿里巴巴合作,双方将依托各自优势,整合双方资源,全面拓展合作关系,在阿里云、天猫、零售通、金融、营销数字化流程平台以及物流服务等领域开展重点合作。阿里云将支持五粮液构建数字化的零售门店和生产检测,天猫和零售通将为五粮液拓展更加高效的销售渠道和营销阵地,蚂蚁金服为五粮液对接更加高效的金融服务,菜鸟和钉钉支持五粮液构建智能化物流系统和以移动办公为基础的营销流程管理。同时,双方还就品牌及产品营销、共建数据平台及更大范围的数字化转型深入合作。
五粮液集团公司党委书记、董事长李曙光表示,此次与阿里巴巴达成战略合作,是传统产业与新兴产业的紧密握手,也是加快推进五粮液营销数字化转型升级的重要措施,为五粮液“二次创业”增添动力。
阿里巴巴集团CEO张勇在签约仪式上表示,这一合作,是从明朝洪武年间出现的充满历史的民族品牌五粮液,和互联网出现后诞生的阿里巴巴之间的化学反应。“未来每个公司都是互联网公司,我们愿意分享阿里20年来沉淀的数字化能力,为合作伙伴未来增长带来新动能。”
本文“”来源:http://www.lkttc.com/news/jingji/73119.html,转载必须保留网址。







