
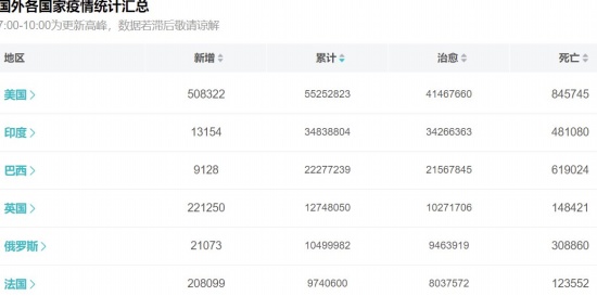
美国单日新增确诊50多万
哇!昨天1天,美国新增确诊超50万例,达到508322例,这样速度继续下去,不到2年,美国人全部确诊了。
美国太不厚道了,你这样一下子提速,让印度、巴西两个难兄难弟怎么跟随啊?还好,有法国后来追上,1天新增确诊20万也还马马虎虎跟上美国的步伐。
这样也好,北美大陆变成荒芜以后,我们的亲戚朋友都不用在美国上班,都可以回国安生过日子了,西方很快要成为真正的“西方极乐世界”了。
截至目前,全世界累积确诊新冠病例超2.8亿,死亡病例超577万,美国死人最多,据路透社统计,据报道,全球有超过2.8508亿人感染了新冠病毒,5776003人死亡。
自 2019 年 12 月在中国发现首例病例以来,已有 210 多个国家和地区报告了感染病例。
本文“”来源:http://www.lkttc.com/yiqing/79647.html,转载必须保留网址。(yujeu)







